| Hali ya upatikanaji: | |
|---|---|
| Wingi: | |
GD-6532
GOLD
 
 Mtihani wa mafuta ya mafuta yasiyosafishwa
Mchapishaji wa maudhui ya chumvi ya mafuta yasiyosafishwa ya GD-6532 imeundwa na kutengenezwa kulingana na mahitaji ya Jamhuri ya Watu wa China Standard GB/T6532 "mafuta yasiyosafishwa na bidhaa zake njia ya uamuzi wa chumvi ". Inafaa kwa uamuzi wa halide jumla na mkusanyiko wa 0.002 ~ 0.02% (uzani) katika mafuta yasiyosafishwa, mafuta yasiyosafishwa, mabaki yaliyopasuka na mafuta. Inaweza pia kutumiwa kuamua hali ya mafuta ya turbine ya mvuke na mafuta ya baharini yaliyochafuliwa na maji ya bahari. Wakati usahihi unaohitajika sio mkubwa kuliko anuwai iliyoainishwa katika njia hii, inaweza pia kutumika kwa bidhaa zingine.
Muundo kuu:
⑴ Extractor: Imeundwa na chupa na sehemu ya joto, kiasi cha chupa ni 500ml; Sehemu ya kupokanzwa inaundwa na jeraha la waya wa kupokanzwa umeme upande wa chini.
Cylindrical Kuondoka kwa funeli: Inatumika kuongeza toluini moto, ethanol kabisa, asetoni na vitu vingine na kufanya utenganisho wa kioevu.
⑶ Condenser: Inasababisha gesi iliyosafishwa.
⑷Memperature Knob: Inatumika joto suluhisho la mtihani ambalo linahitaji moto.
⑸Separation Bastola: bastola ya kudhibiti ya extractor kutekeleza suluhisho.
⑹ Erlenmeyer Flask: Kusaga-Mouth Erlenmeyer Flask, iliyotumiwa kupokea suluhisho lililotolewa kutoka kwenye chupa.
⑺ Plug ya Anga: Extractor inapokanzwa waya wa nguvu ya kufanya kazi
Kuu Technical Parameter:
1. Extractor: Zingatia maelezo na vipimo vya glasi katika kiwango cha GB/T6532.
2. Nguvu ya kupokanzwa ya extractor: 300W × 2
3. Ugavi wa Nguvu: AC (220V ± 10V), 50Hz
Maelezo: Mteja anahitaji kuandaa kichocheo cha sumaku na titrator ya potentiometric.
Miundo FVipu:
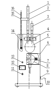
Chombo hicho kinaundwa sana na chupa ya extractor, coil ya kupokanzwa, kifuniko cha kinga, condenser, funeli ya kutenganisha ya silinda (kushuka kwa funeli), kifaa cha kushinikiza, bodi ya kudhibiti joto ya dijiti, msaada wa pole, pole, waya wa juu, clamp ya ulimwengu, chupa ya Erlenmeyer, nk Muundo umeonyeshwa upande wa kushoto:
 
 1. Condenser 9. Kubadilisha nguvu
2. Clip ya Universal 10. Kamba ya nguvu
3. Kuacha funeli 11. Voltage Marekebisho ya Knob
4. Kifaa cha kushinikiza 12. Voltmeter ya kuonyesha dijiti
5. Flask ya Extractor Kiashiria cha Nguvu
6. Jalada la kinga 14. Pole bracket
7. kuziba anga 15. Waya wa juu mara mbili
8. Inapokanzwa coil 16. Pole
Picha za kina:
 
  
  
  
 Mtihani wa mafuta ya mafuta yasiyosafishwa
Mchapishaji wa maudhui ya chumvi ya mafuta yasiyosafishwa ya GD-6532 imeundwa na kutengenezwa kulingana na mahitaji ya Jamhuri ya Watu wa China Standard GB/T6532 "mafuta yasiyosafishwa na bidhaa zake njia ya uamuzi wa chumvi ". Inafaa kwa uamuzi wa halide jumla na mkusanyiko wa 0.002 ~ 0.02% (uzani) katika mafuta yasiyosafishwa, mafuta yasiyosafishwa, mabaki yaliyopasuka na mafuta. Inaweza pia kutumiwa kuamua hali ya mafuta ya turbine ya mvuke na mafuta ya baharini yaliyochafuliwa na maji ya bahari. Wakati usahihi unaohitajika sio mkubwa kuliko anuwai iliyoainishwa katika njia hii, inaweza pia kutumika kwa bidhaa zingine.
Muundo kuu:
⑴ Extractor: Imeundwa na chupa na sehemu ya joto, kiasi cha chupa ni 500ml; Sehemu ya kupokanzwa inaundwa na jeraha la waya wa kupokanzwa umeme upande wa chini.
Cylindrical Kuondoka kwa funeli: Inatumika kuongeza toluini moto, ethanol kabisa, asetoni na vitu vingine na kufanya utenganisho wa kioevu.
⑶ Condenser: Inasababisha gesi iliyosafishwa.
⑷Memperature Knob: Inatumika joto suluhisho la mtihani ambalo linahitaji moto.
⑸Separation Bastola: bastola ya kudhibiti ya extractor kutekeleza suluhisho.
⑹ Erlenmeyer Flask: Kusaga-Mouth Erlenmeyer Flask, iliyotumiwa kupokea suluhisho lililotolewa kutoka kwenye chupa.
⑺ Plug ya Anga: Extractor inapokanzwa waya wa nguvu ya kufanya kazi
Kuu Technical Parameter:
1. Extractor: Zingatia maelezo na vipimo vya glasi katika kiwango cha GB/T6532.
2. Nguvu ya kupokanzwa ya extractor: 300W × 2
3. Ugavi wa Nguvu: AC (220V ± 10V), 50Hz
Maelezo: Mteja anahitaji kuandaa kichocheo cha sumaku na titrator ya potentiometric.
Miundo FVipu:
Chombo hicho kinaundwa sana na chupa ya extractor, coil ya kupokanzwa, kifuniko cha kinga, condenser, funeli ya kutenganisha ya silinda (kushuka kwa funeli), kifaa cha kushinikiza, bodi ya kudhibiti joto ya dijiti, msaada wa pole, pole, waya wa juu, clamp ya ulimwengu, chupa ya Erlenmeyer, nk Muundo umeonyeshwa upande wa kushoto:
 
 1. Condenser 9. Kubadilisha nguvu
2. Clip ya Universal 10. Kamba ya nguvu
3. Kuacha funeli 11. Voltage Marekebisho ya Knob
4. Kifaa cha kushinikiza 12. Voltmeter ya kuonyesha dijiti
5. Flask ya Extractor Kiashiria cha Nguvu
6. Jalada la kinga 14. Pole bracket
7. kuziba anga 15. Waya wa juu mara mbili
8. Inapokanzwa coil 16. Pole
Picha za kina:
 
  
 